Que no se enojen los veganos en la sala, pero las veces que tuve el gusto de sentarme a comer este tipo de comidas, todo se refería al mundo no vegano. Tal cosa hecha con carne vegana, tal otra hecha con manteca vegana, y esto hecho con mayonesa vegana. Vamos macho, me queres convencer de que el seitán es lo mejor del mundo pero te morís por un vacío bien jugoso.
Bueno, parece que Yamaha está trabajando en el desarrollo de un motor fantasma para montar en las motos eléctricas con el fin de emular algunas características de los motores de combustión interna que, aparentemente los usuarios de la energía eléctrica van a extrañar. Más precisamente el ruido y las vibraciones.
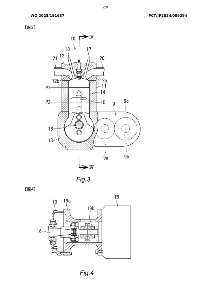
Puede parecer una joda, pero no. La patente existe, es la número WO/2025/191637 en la OMPI y describe detalladamente el sistema mediante el que el motor eléctrico mueve un bloque mecánico de cuatro tiempos que está ahí de adorno. La única funcioan es reproducir el sonido y las vibraciones de un motor térmico. Bueno, además de consumir más batería.
El esquema es interesante y, al mismo tiempo, bastante rebuscado: el motor eléctrico hace girar un cigüeñal conectado a pistones que suben y bajan, mueven aire por conductos de admisión y escape y generan ondas de presión. Un resonador se encarga de amplificar el resultado, creando un ruido lo más parecido posible al de un motor a combustión. De paso, las piezas en movimiento transmiten vibraciones reales, que aumentan o disminuyen en función del ritmo de conducción.
En síntesis, es un moto eléctrica con culpa, que debería sentirse como si tuviera un motor a explosión bajo un tanque de combustible que también es fantasma. La intención de Yamaha parece ser darle a los usuarios de motos eléctrica, que cada vez son más, una dosis de el carácter que los motores alimentados a batería parecen no tener, al menos desde lo sensorial. En una de esas esto sirve para que las eléctricas puedan sumar más adeptos.
El tema es qué tan eficiente es esto que propone Yamaha y cuánto de la energía de las baterías y del rendimiento del motor eléctrico se chupa con el solo motivo de emular algo que no es. A las motos eléctricas todavía les falta mucho por mejorar como para estar enfocándose en estas cosas, pero quizás el tiempo les da la razón a los japoneses y esto que están intentando termina saliendo para el lado correcto.
Veremos.
***



30 respuestas
La verdad de la milanesa es que las eléctricas actuales son una bazofia, no le interesan a casi nadie, ( salvo a algunos snobs y/o despistados que siempre hay), obviamente todo debido a la pésima tecnología de las actuales baterías. Faltan unos 10 años de evolución para lograr algo decente.
En europa las ventas siguen en caida libre, en promedio se vendieron en 2024 un 30% menos que en 2023, llegando a al 40% menos en Alemania, y este año siguió la debacle.
En MotoGP ya volaron de un plumazo la categoría MotoE porque no le interesaba a nadie.
Las terminales no son tontas, ya tomaron nota del fracaso y están desarrollando todo tipo de artilugios para ver si logran atraer nuevamente al público, esta nota es la prueba de ello.
Para ciudad deben estar buenas las eléctricas, especialmente el tema de tener cero mantenimiento. En mi cuadra hay 2 o 3, siempre con esas formas rarísimas estacionadas, y esos nombres, poco, moco, miku, etc. creo que no las usan nunca.
Sospechosamente tampoco nadie se las quiere robar.
ahí abajo te deje tarea para el hogar… así te educas un poquito de lo que esta pasando…
Voy a llamar a los japoneses, todo se soluciona con un globo a medio inflar rozando los rayos.
Directo al podio de los mejores comentarios del año
(yo usaba globitos de agua)
Sii, jajaja, con bombucha suena a tetra!
NooooOOO00oooo00
Se atornillo un cigueñal y ahora se autopercibe naftera.
Ja ja ja ja todos los comentarios que me anteceden son para poner en un cuadrito.
En cualquier momento llega Eléctrico a vomitar un par de watts.
Leyó la nota y los comentarios y se atragantó jajaja
Es la milanesa o hamburguesa de soja/lenteja/carton, de las motos. Quiero creer que solo patentaron semejante cosa, sólo para ganarle de mano a otro fabricante, y con lá minima esperanza que en un futuro el mercado pida algo así.
Si finalmente termina ganando la batalla la generacion criada a flat white en lugar de café con leche, solo pido que las motos tengan forma de moto, que hagan las baterias con forma de motor (o similar) y que si no tienen que hacer ruido, no lo hagan, pero que no inventen b@ludeces.
La verdad no me voy a calentar mas en comentar ya que esta todo dicho. Los eléctricos (autos y motos) van a copar y en mucho menos de 10 años como dice J SBK.
Y lo mas llamativo del asunto es que sus tan amados CHINOS son los que le van a poner los clavos al ataúd del motor a combustión…
Hoy los adoran por las motos baratas, mañana los adoraran por sus motos eléctricas y los pro fósil van a hacer lo que hace siempre el Argento, cerrar el upite y hacerse el boludo…
Les dejo una recopilación de notas actuales para que lean… Así ni me gasto en escribir, al fin y al cabo la info es la misma y el resultado evidente. (especial mención para Jorge SBK (chupate el borne…))
PD: dejo los links en uno por post porque este wordpress pedorro no te deja postear mas de 1 link por post
Cada vez se compran más autos eléctricos: el ranking de los más vendidos en septiembre
https://www.iprofesional.com/autos/438644-crece-la-venta-de-autos-electricos-cuales-son-los-mas-vendidos
Eléctrico tu fanatismo no te deja ver que este es un blog de motos, no de autos papu.
Los links que ponés no se relacionan con las motos.
Ya que sos tan electric fan explicame porqué las ventas de motos electrícas están en caida libre, con una reducción sostenida del 30% anual en Europa y en el resto del mundo también. Desasnate y lee como van esas ventas jejeje.
Y volvé a leer mi primer comentario, así lentamente te entra la realidad que no aceptás.
Buscale la escusa que quieras. El motor a combustión esta MUERTO solo que no lo sabe todavía… ajajajaj
Autos, motos, misma historia. Primero unos después otros.
Hace no mas de dos o tres años atrás todos decían que los autos eléctricos no iban a llegar a argenta y hoy están entrando de a miles…
Sos como aquel que por los comienzos del 1900, cuando ford empezaba a vender en masa, defendía la carreta a caballos contra los autos a combustión…
Ahh, yo no soy fantástico de los eléctricos sino de las ventajas que ofrece (punto)
Chiao!
Ja ja ja amigo, que te dije 5 comentarios mas arriba?
No da ni para contestarle.
Silenciosas, rápidas y más baratas: las motos eléctricas que conquistan Argentina
https://economiasustentable.com/noticias/motos-electricas-en-argentina-2025-precios-modelos-mas-vendidos-y-ventajas
La Ciudad habilita puestos de cargas para autos eléctricos en las calles
https://www.iprofesional.com/actualidad/438543-la-ciudad-habilita-puestos-de-cargas-para-autos-electricos-en-las-calles
El Gobierno tiene lista una medida clave para tener autos 0Km más baratos en Argentina (hibridos, electricos)
https://www.iprofesional.com/autos/438363-gobierno-javier-milei-tiene-lista-medida-clave-para-impulsar-baja-precios-autos-0km
Automotriz china firma acuerdo con red de cargadores para autos eléctricos
https://www.iprofesional.com/autos/438460-automotriz-china-firma-acuerdo-con-red-de-cargadores-para-autos-electricos
y eso que todavía las de estado solido están en veremos…
Automotriz china firma acuerdo con red de cargadores para autos eléctricos
https://www.iprofesional.com/autos/438460-automotriz-china-firma-acuerdo-con-red-de-cargadores-para-autos-electricos
Creo que en esta temática se bifurcan los caminos de la industria de los autos por un lado y de las motos por otro: en los autos la electrificación motriz avanza con mucha mas solidez y aceptación, ya hasta en autos chicos y de entrada de gama están viniendo con versiones 100% electricas (el Kwid x ejemplo), mientras que en las motos como dice el primer comentario la cosa está muuuuy verde, verdísima, fundamentalmente creo que por la dificultad de construir baterías eficientes (en prestaciones y autonomía) de un tamaño acotado para lo que permite una moto
La moto no avanza tan rápido porque al contaminar menos no están incluidas en las metas para 30 35 40 de los tratados de descarbonización internacionales.
Va a llegar por cascada y en masa cuando se desarrollen las baterías de estado solido.
LA realidad es que en Argentina lo que mas va a pesar para el avance eléctrico tanto en autos como en motos es la cantidad infinita de s@retes que hay en mercado chupándole la sangre al usuario.
Cuando los vehiculos lleguen y se disperse el miedo a lo desconocido la gente va a salir corriendo a busca un vehículo que:
– No consume nafta: que te la venden al precio que se les ocurre sin importar si baja o sube el precio del barril u otros…
– Prácticamente no necesita servís: el gran curro de los concesionarios. No por nada garantías de 5 años…
– Practicante no necesita mantenimiento: 0 aceite, refrigerante, filtros, bujías, etc., etc.
Solo cauchos, pastillas de freno y liquido. Chan chan. No mas concesionarios s@retes, importadores ladrones, etc. etc.
Sino fijate lo que paso con el diesel… En menos de 10 años de aparecer poblaron el mercado por el simple echo de consumir un poco menos…
El motor a combustión esta condenado. Disfrútenlo mientras les queda
…algunas características de los motores de combustión interna que, aparentemente los usuarios de la energía eléctrica van a extrañar. Más precisamente el ruido y las vibraciones…
– En serio? eso es lo que tanto les duele? Las vibraciones en la moto son lo peor que hay, no solo por molestas sino que generan malestar al manejar por mucho tiempo e incluso pueden generar lesiones…
El ruido? otra gran molestia no tanto para el que maneja tal vez pero un dolor de huevos para los que vienen atrás… ensuciar el ambiente ajeno con ruido sin derecho…
Vamos macho, si te gustan tanto las vibraciones necesitas un consolador no una moto…!!!
Eléctrico, dos cosas, una, cuando Yamaha y Honda quisieron penetrar con sus Cruiser en el mercado americano al ver que no tenían respuesta del público tuvieron que modificar sus motores y escapes para que hicieran más ruido y vibraran más. Y en esta nota no estábamos criticando a la moto eléctrica, le estábamos ofreciendo soluciones más económicas y que absorbieran menos energía e hicieran el ruido deseado.
Es una estupidez una moto eléctrica.
No solo son mas lentas que una moto a nafta (cosa que con los autos no pasa) Sino que no tiene autonomía. Eso la mata. Haces 120 km (como muuucho) y a cargarla por 8 hs, si es que conseguis donde (no conseguis). O sea andas una hora y cargas 8 hs.
Como vas a querer meter un producto que es mas lento, sin autonomia, mas caro y mas pesado? al contrario de un auto, no tiene sentido electrificar una moto.
Lo que si tiene sentido son bicis electricas. Misma autonomía que una moto electrico, pero mucho mas liviana. La velocidad no importa en ese caso, es mucho mas rapida que una bici normal. Pero bueno, comentario para BiciBlog.
Le dejo un regalito a ELECTRICO
https://www.motorpasionmoto.com/motos-electricas/bmw-se-planta-apuesta-todo-a-gasolina-motoristas-no-quieren-motos-electricas
Por otro lado… China domina ampliamente el mercado electrico, no quisiera pensar que estas a favor de financiar el comunismo.
Jajaja, le vas a arruinar el finde! Todas las grandes terminales pusieron la pata en el freno con las eléctricas, hasta tanto inventen baterías pequeñas y confiables. Igual no le entra en la cabeza. Fijate que lo que llegado aquí es toda basura china equipada con baterias explosivas, que si la tenés que reponer te conviene tirar la moto.
Pregunta, a ese motor trucho hay que cambiarle el aceite?